Beispiele: Schweiß- / Schneidtechnik
- Planung, Koordination und Abwicklung der Neuberohrung (Mat. 12 Cr Mo 19 5) eines Rohöleinsatzofens, incl. der Erarbeitung der Schweiß- und Glühvorschriften sowie der Qualitätskontrolle vor Ort.
- Planung, Koordination und Abwicklung der Neuberohrung (Mat. 1.4903) eines Naphta - Ofens, incl der Erarbeitung der Schweiß- und Glühvorschriften sowie der Bauleitung vor Ort. In 5 Wochen wurden 83 to Rohrleitungsmaterial aus- und eingebaut.
- Erarbeitung der WPS (Welding Procedure Specification) für die Aluminium-Supraleiter (mit flüssigem Helium (-269 °C) durchflossene stromführende Leiter) als Teilaufgabe für das EU-Fusionsprojekt „Wendelstein 7-X“
- Erarbeitung der schweißtechnischen Verfahren zur Sicherstellung der kleinstmöglichen geometrischen Abweichung „vorher / nachher“ an geschweißten Verbindungselementen zwischen supraleitenden, 6t schweren Spulen, als Teilaufgabe für das EU-Fusionsprojekt „Wendelstein 7-X“, Schweißnahtstärke bis zu 35 mm CrNi-Stahl
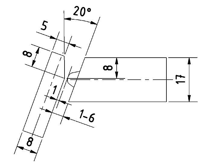
- Erarbeitung der WPS (Welding Procedure Specification) für innen- und außenzugängliche CrNi-Orbital-Schweißnähte an Rohrdurchmessern < 38mm
- Special developed adjustable Inside Welding Torch
- Erarbeitung der schweißtechnischen Verfahren zur Sicherstellung der kleinstmöglichen geometrischen Abweichung „vorher / nachher“ an geschweißten Verbindungen Plasmagefäß / Stutzen, als Teilaufgabe für das EU-Fusionsprojekt „Wendelstein 7-X“, Schweißnahtstärke bis zu 15 mm CrNi-Stahl
|
|
|
|

|